Datenblätter
Mehr
Only-Datasheet.com
Über uns
Zusammenarbeit
Werbung
Kontakte
en - English
ru - Русский
es - Espanol
zh - 中文
Suche
Datenblätter
Datasheet AOK20B135D1 (Alpha & …
Datasheet AOK20B135D1 (Alpha & Omega) - 8
Hersteller
Alpha & Omega
Beschreibung
1350V, 20A Alpha IGBT with Diode
Seiten / Seite
8
/
8
— www.aosmd.com
Dateiformat / Größe
PDF
/
1.5 Mb
Dokumentensprache
Englisch
www.aosmd.com
1
2
3
...
6
7
8
Herunterladen PDF
1
2
3
...
6
7
8
Modelllinie für dieses Datenblatt
AOK20B135D1
Textversion des Dokuments
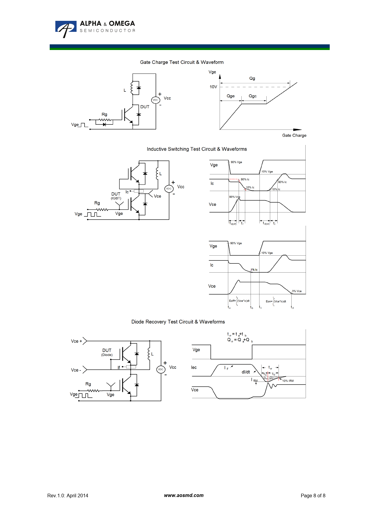
Rev.1.0: April 2014
www.aosmd.com
Page 8 of 8
Kontakte
Datenschutz-Bestimmungen
Ändern Sie die Datenschutzeinstellungen