Datasheet LM194, LM394 (National Semiconductor) - 3

HerstellerNational Semiconductor
BeschreibungSupermatch Pair
Seiten / Seite10 / 3 — Typical. Applications. (Continued). Fast,. Accurate. Logging. Amplifier,. …
Dateiformat / GrößePDF / 238 Kb
DokumentenspracheEnglisch

Typical. Applications. (Continued). Fast,. Accurate. Logging. Amplifier,. VIN. e. 10V. to. 0.1. mV. or. IIN. e. 1. mA. to. 10. nA. TL/H/9241. –. 3. *1. kX. (g1%). at. 25§C,

Typical Applications (Continued) Fast, Accurate Logging Amplifier, VIN e 10V to 0.1 mV or IIN e 1 mA to 10 nA TL/H/9241 – 3 *1 kX (g1%) at 25§C,

Modelllinie für dieses Datenblatt

Textversion des Dokuments

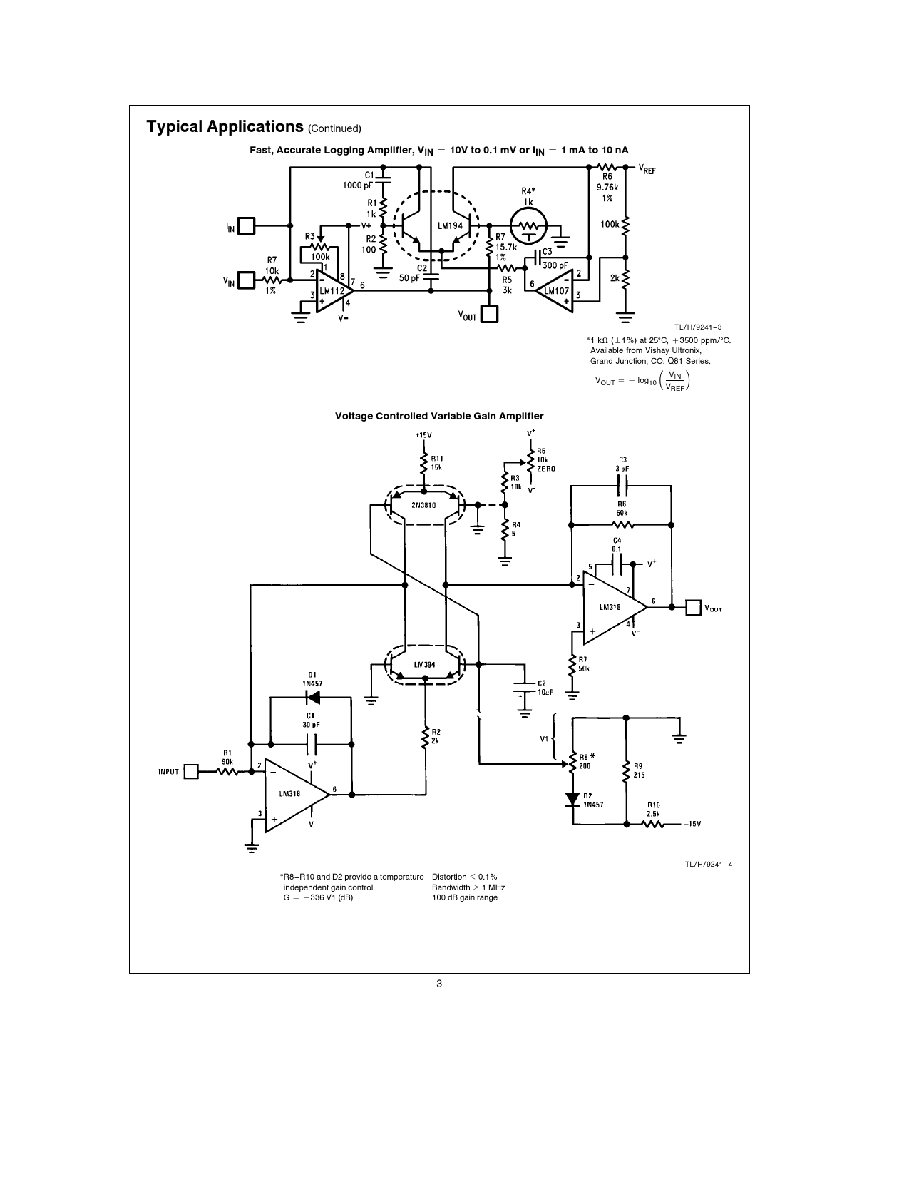
Typical Applications (Continued) Fast, Accurate Logging Amplifier, VIN e 10V to 0.1 mV or IIN e 1 mA to 10 nA TL/H/9241 – 3 *1 kX (g1%) at 25§C, a3500 ppm/§C. Available from Vishay Ultronix, Grand Junction, CO, Q81 Series. VOUT e b log10 # VIN V J REF Voltage Controlled Variable Gain Amplifier TL/H/9241 – 4 *R8–R10 and D2 provide a temperature Distortion k 0.1% independent gain control. Bandwidth l 1 MHz G e b336 V1 (dB) 100 dB gain range 3