Datasheet TW070J120B (Toshiba) - 4
| Hersteller | Toshiba |
| Beschreibung | MOSFETs Silicon Carbide N-Channel MOS |
| Seiten / Seite | 10 / 4 — TW070J120B. 6.5. Test. Circuit. and. Timing. Diagram. VGS1. =. -5. V. … |
| Dateiformat / Größe | PDF / 518 Kb |
| Dokumentensprache | Englisch |
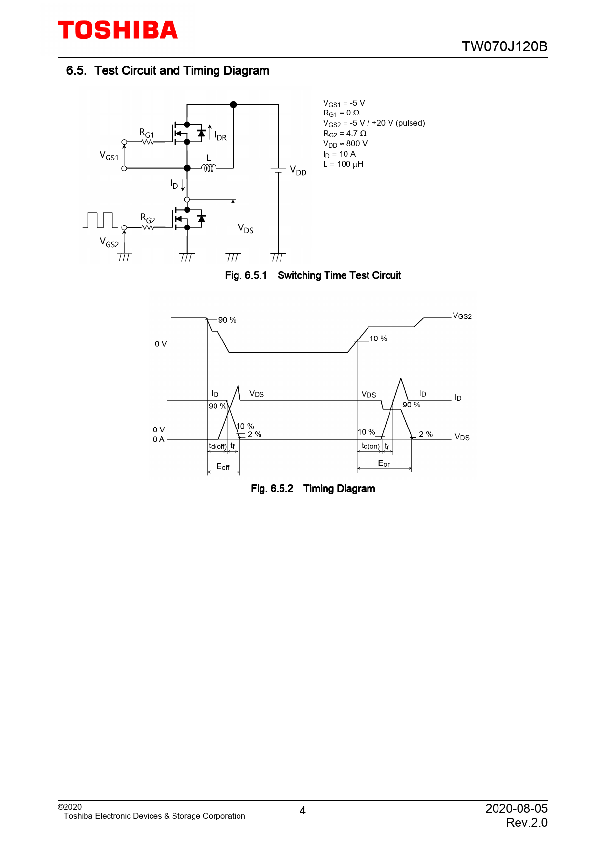
TW070J120B. 6.5. Test. Circuit. and. Timing. Diagram. VGS1. =. -5. V. RG1. =. 0. Ω. VGS2. =. -5. V. /. +20. V. (pulsed). RG2. =. 4.7. Ω. VDD. ≈. 800. V. ID. =. 10. A. L. =. 100. µH. Fig. 6.5.1

Modelllinie für dieses Datenblatt
Textversion des Dokuments
TW070J120B 6.5. Test Circuit and Timing Diagram VGS1 = -5 V RG1 = 0 Ω VGS2 = -5 V / +20 V (pulsed) RG2 = 4.7 Ω VDD ≈ 800 V ID = 10 A L = 100 µH Fig. 6.5.1 Switching Time Test Circuit Fig. 6.5.2 Timing Diagram ©2020 4 2020-08-05 Toshiba Electronic Devices & Storage Corporation Rev.2.0