Datasheet MCP47FXBX4/8 (Microchip) - 3
| Hersteller | Microchip |
| Beschreibung | 8/10/12-Bit Quad/Octal Voltage Output, 6 LSb INL Digital-to-Analog Converters with I²C Interface |
| Seiten / Seite | 124 / 3 — MCP47FXBX4/8. MCP47FXBX4 Block Diagram (Quad-Channel Output). VDD. VSS … |
| Dateiformat / Größe | PDF / 9.8 Mb |
| Dokumentensprache | Englisch |
MCP47FXBX4/8. MCP47FXBX4 Block Diagram (Quad-Channel Output). VDD. VSS Power-up/Brown-out Control SDA. SCL

Modelllinie für dieses Datenblatt
Textversion des Dokuments
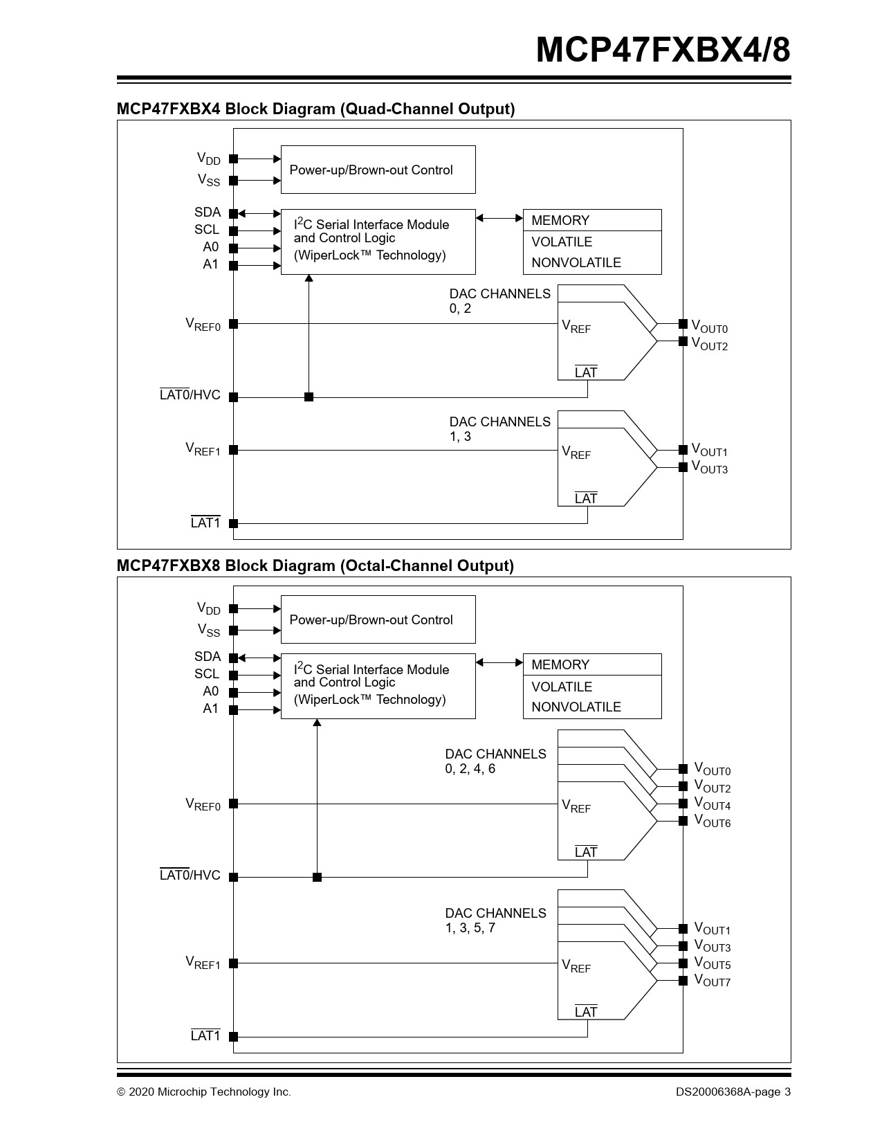
MCP47FXBX4/8
MCP47FXBX4 Block Diagram (Quad-Channel Output)
VDD
VSS Power-up/Brown-out Control SDA
SCL
A0
A1 MEMORY I2C Serial Interface Module
and Control Logic
(WiperLock™ Technology) VOLATILE
NONVOLATILE
DAC CHANNELS
0, 2 VREF0 VREF VOUT0
VOUT2 LAT
LAT0/HVC
DAC CHANNELS
1, 3 VREF1 VREF VOUT1
VOUT3 LAT
LAT1 MCP47FXBX8 Block Diagram (Octal-Channel Output)
VDD
VSS Power-up/Brown-out Control SDA
SCL
A0
A1 I2C Serial Interface Module
and Control Logic
(WiperLock™ Technology) MEMORY
VOLATILE
NONVOLATILE DAC CHANNELS
0, 2, 4, 6
VREF0 VREF VOUT0
VOUT2
VOUT4
VOUT6 LAT
LAT0/HVC
DAC CHANNELS
1, 3, 5, 7
VREF1 VREF VOUT1
VOUT3
VOUT5
VOUT7 LAT
LAT1 2020 Microchip Technology Inc. DS20006368A-page 3