Datasheet S-1318 (ABLIC) - 3

HerstellerABLIC
Beschreibung5.5 V Input, 100 mA, 95 nA Super Low Current Consumption Voltage Regulator
Seiten / Seite42 / 3 — 5.5 V INPUT, 100 mA, 95 nA SUPER LOW CURRENT CONSUMPTION VOLTAGE …
Revision1.0_00
Dateiformat / GrößePDF / 729 Kb
DokumentenspracheEnglisch

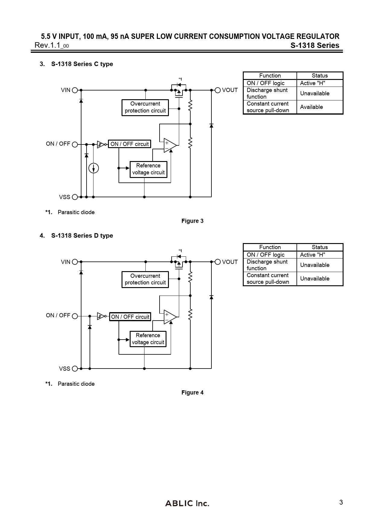
5.5 V INPUT, 100 mA, 95 nA SUPER LOW CURRENT CONSUMPTION VOLTAGE REGULATOR. S-1318 Series. 3. S-1318 Series C type. *1

5.5 V INPUT, 100 mA, 95 nA SUPER LOW CURRENT CONSUMPTION VOLTAGE REGULATOR S-1318 Series 3 S-1318 Series C type *1

Modelllinie für dieses Datenblatt

Textversion des Dokuments

5.5 V INPUT, 100 mA, 95 nA SUPER LOW CURRENT CONSUMPTION VOLTAGE REGULATOR
Rev.1.1_00
S-1318 Series 3. S-1318 Series C type
Function Status
*1
ON / OFF logic Active "H" VIN VOUT Discharge shunt Unavailable function Overcurrent Constant current Available protection circuit source pull-down ON / OFF ON / OFF circuit + − Reference voltage circuit VSS
*1.
Parasitic diode
Figure 3 4. S-1318 Series D type
Function Status
*1
ON / OFF logic Active "H" VIN VOUT Discharge shunt Unavailable function Overcurrent Constant current Unavailable protection circuit source pull-down ON / OFF ON / OFF circuit + − Reference voltage circuit VSS
*1.
Parasitic diode
Figure 4
3 Document Outline 空白ページ 空白ページ 空白ページ 空白ページ