Datasheet UPC1237 (Unisonic Technologies) - 2
| Hersteller | Unisonic Technologies |
| Beschreibung | Protector IC for Stereo Power Amplifier SIP-8 Package |
| Seiten / Seite | 5 / 2 — UPC1237. LINEAR INTEGRATED CIRCUIT. PIN CONFIGURATION. PIN DESCRIPTION. … |
| Dateiformat / Größe | PDF / 269 Kb |
| Dokumentensprache | Englisch |
UPC1237. LINEAR INTEGRATED CIRCUIT. PIN CONFIGURATION. PIN DESCRIPTION. BLOCK DIAGRAM. UNISONIC TECHNOLOGIES CO., LTD

Modelllinie für dieses Datenblatt
Textversion des Dokuments
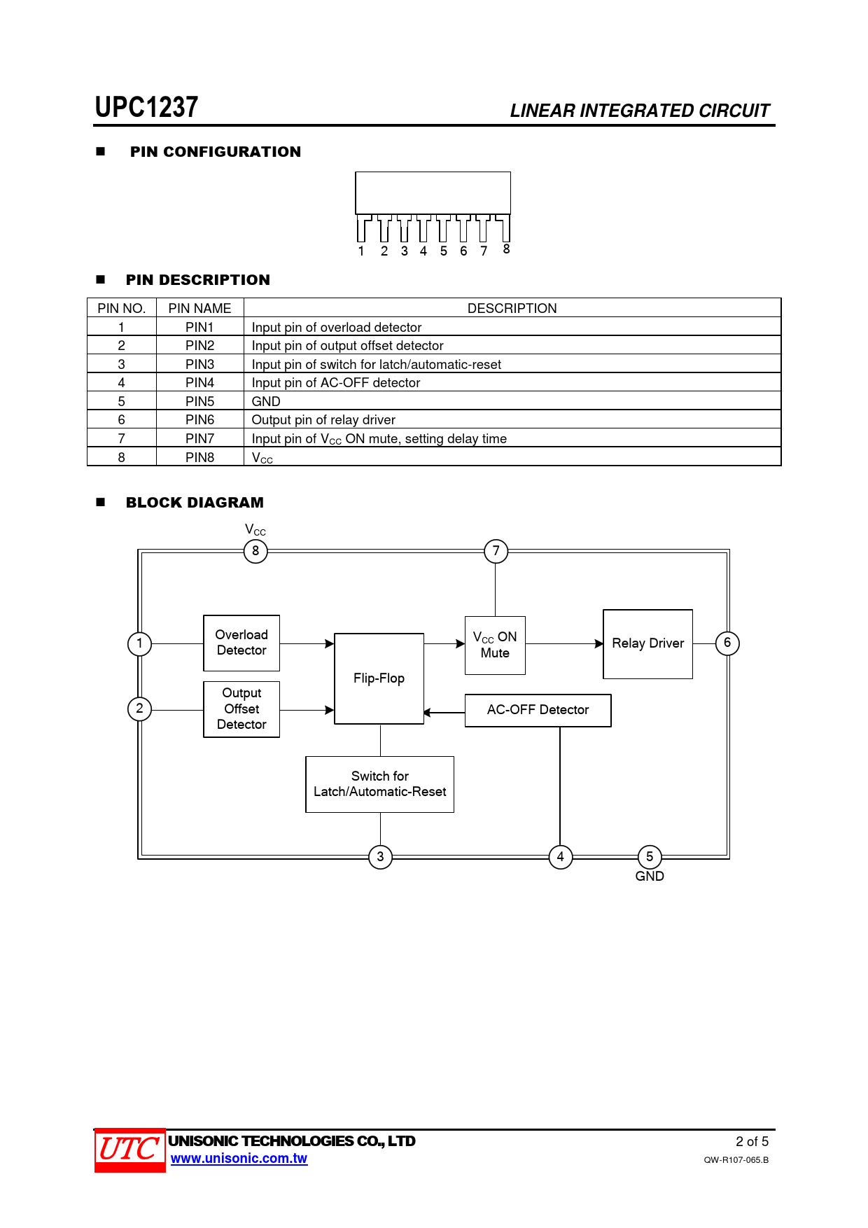
UPC1237 LINEAR INTEGRATED CIRCUIT PIN CONFIGURATION
1 2 3 4 5 6 7 8
PIN DESCRIPTION
PIN NO. PIN NAME DESCRIPTION 1 PIN1 Input pin of overload detector 2 PIN2 Input pin of output offset detector 3 PIN3 Input pin of switch for latch/automatic-reset 4 PIN4 Input pin of AC-OFF detector 5 PIN5 GND 6 PIN6 Output pin of relay driver 7 PIN7 Input pin of VCC ON mute, setting delay time 8 PIN8 VCC
BLOCK DIAGRAM
VCC 8 7 Overload 1 VCC ON Relay Driver 6 Detector Mute Flip-Flop Output 2 Offset AC-OFF Detector Detector Switch for Latch/Automatic-Reset 3 4 5 GND
UNISONIC TECHNOLOGIES CO., LTD
2 of 5
www.unisonic.com.tw
QW-R107-065.B