Datasheet AL58263 (Diodes) - 3
| Hersteller | Diodes |
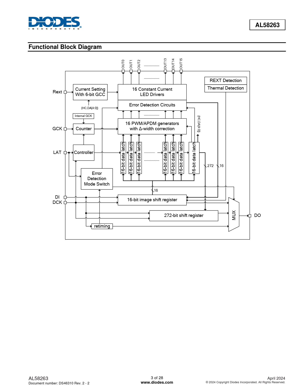
| Beschreibung | 16-Channel, 16-Bit Grayscale PWM Dimming LED Driver |
| Seiten / Seite | 28 / 3 — AL58263. Functional Block Diagram. www.diodes.com |
| Dateiformat / Größe | PDF / 1.6 Mb |
| Dokumentensprache | Englisch |
AL58263. Functional Block Diagram. www.diodes.com

Modelllinie für dieses Datenblatt
Textversion des Dokuments
AL58263 Functional Block Diagram
0 1 2 3 4 5 T T T 1 1 T 1 T U U U T U U U O O O O O O REXT Detection Current Setting 16 Constant Current Thermal Detection Rext With 6-bit GCC LED Drivers Error Detection Circuits {HC,DA[4:0]} { Internal GCK H C ,D 16 PWM/APDM generators A [4 GCK Counter with ∆-width correction :0]} hc h h h h h h t c c c c c c a ta ta ta ta ta ta LAT Controller l l l l l l l a t a a a a a a a t t t t t t d a a a a a a t d d d d d d i t t t t t t b i i i i i i - b b b b b b 272 16 6 - - - - - - 1 61 61 61 61 61 6 Error 1 Detection Mode Switch 16 DI 16-bit image shift register DCK X 272-bit shift register U DO M retiming AL58263 3 of 28 April 2024 Document number: DS46310 Rev. 2 - 2
www.diodes.com
© 2024 Copyright Diodes Incorporated. All Rights Reserved.