Datasheet TS271 (STMicroelectronics) - 2
| Hersteller | STMicroelectronics |
| Beschreibung | CMOS Programmable Low Power Single Operational Amplifier |
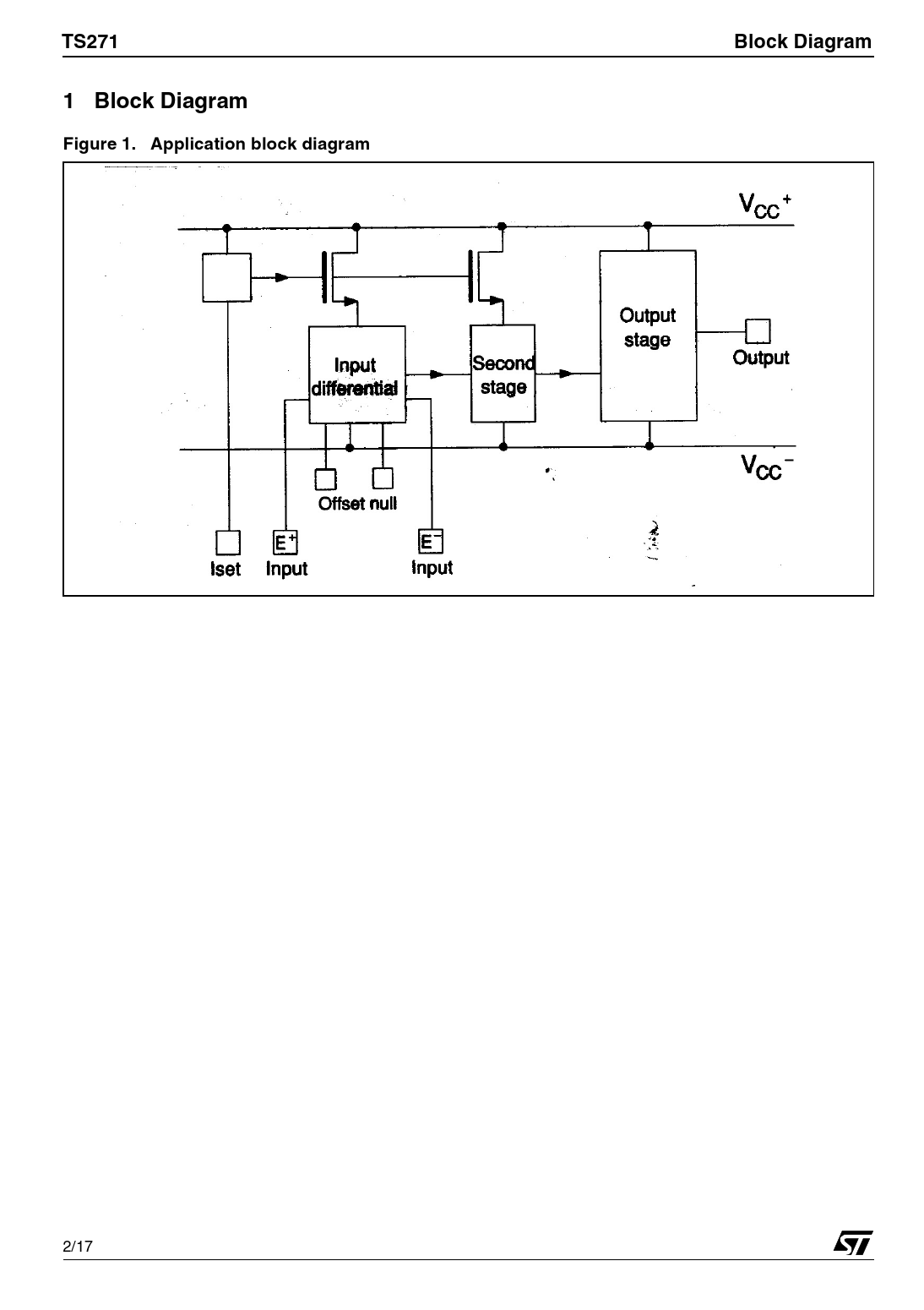
| Seiten / Seite | 17 / 2 — TS271. Block Diagram. 1 Block Diagram. Figure 1. Application block diagram |
| Dateiformat / Größe | PDF / 594 Kb |
| Dokumentensprache | Englisch |
TS271. Block Diagram. 1 Block Diagram. Figure 1. Application block diagram

Modelllinie für dieses Datenblatt
Textversion des Dokuments
TS271 Block Diagram 1 Block Diagram Figure 1. Application block diagram
2/17 Document Outline 1 Block Diagram 2 Absolute Maximum Ratings 3 Electrical Characteristics 4 Electrical Characteristics 5 Electrical Characteristics 6 Package Mechanical Data 7 Revision History