Datasheet 2N6052, 2N6058, 2N6059 (ON Semiconductor) - 6

HerstellerON Semiconductor
BeschreibungDarlington Complementary Silicon Power Transistors
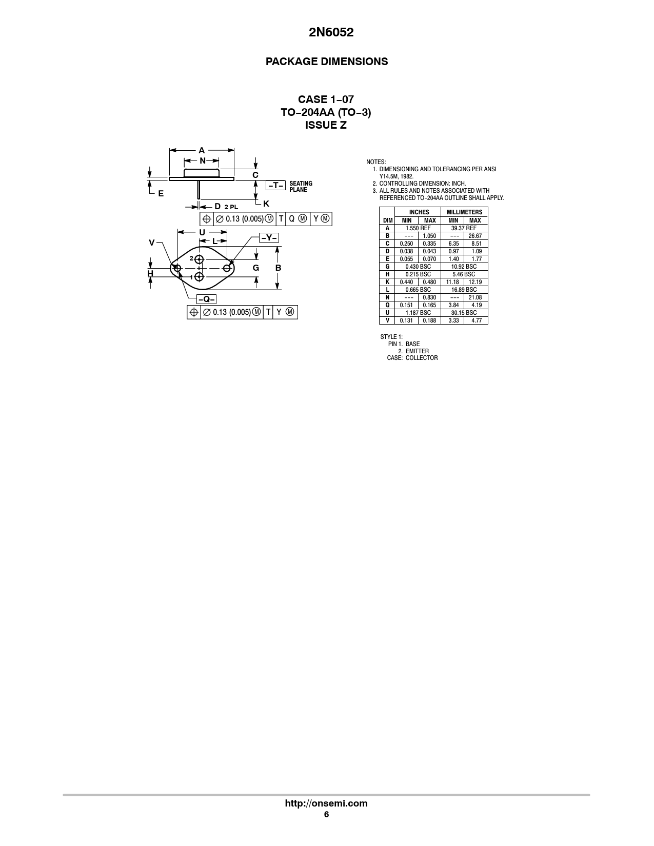
Seiten / Seite7 / 6 — 2N6052. PACKAGE DIMENSIONS. CASE 1−07. TO−204AA (TO−3). ISSUE Z. −T−. D 2 …
Dateiformat / GrößePDF / 180 Kb
DokumentenspracheEnglisch

2N6052. PACKAGE DIMENSIONS. CASE 1−07. TO−204AA (TO−3). ISSUE Z. −T−. D 2 PL. −Y−. −Q−. http://onsemi.com

2N6052 PACKAGE DIMENSIONS CASE 1−07 TO−204AA (TO−3) ISSUE Z −T− D 2 PL −Y− −Q− http://onsemi.com

Modelllinie für dieses Datenblatt

Textversion des Dokuments

2N6052 PACKAGE DIMENSIONS CASE 1−07 TO−204AA (TO−3) ISSUE Z A N
NOTES: 1. DIMENSIONING AND TOLERANCING PER ANSI
C
Y14.5M, 1982. 2. CONTROLLING DIMENSION: INCH.
−T−
SEATING PLANE 3. ALL RULES AND NOTES ASSOCIATED WITH
E
REFERENCED TO−204AA OUTLINE SHALL APPLY.
K D 2 PL
INCHES MILLIMETERS 0.13 (0.005) M T Q M Y M DIM MIN MAX MIN MAX A 1.550 REF 39.37 REF
U
B −−− 1.050 −−− 26.67
−Y− V L
C 0.250 0.335 6.35 8.51 D 0.038 0.043 0.97 1.09
2
E 0.055 0.070 1.40 1.77
G B
G 0.430 BSC 10.92 BSC
H
H 0.215 BSC 5.46 BSC
1
K 0.440 0.480 11.18 12.19 L 0.665 BSC 16.89 BSC N −−− 0.830 −−− 21.08
−Q−
Q 0.151 0.165 3.84 4.19 0.13 (0.005) M T Y M U 1.187 BSC 30.15 BSC V 0.131 0.188 3.33 4.77 STYLE 1: PIN 1. BASE 2. EMITTER CASE: COLLECTOR
http://onsemi.com 6