Datasheet PT7C4363BQ (Diodes) - 3
| Hersteller | Diodes |
| Beschreibung | Automotive Real Time Clock |
| Seiten / Seite | 23 / 3 — PT7C4363BQ. Function Block. Note. www.diodes.com |
| Dateiformat / Größe | PDF / 911 Kb |
| Dokumentensprache | Englisch |
PT7C4363BQ. Function Block. Note. www.diodes.com

Modelllinie für dieses Datenblatt
Textversion des Dokuments
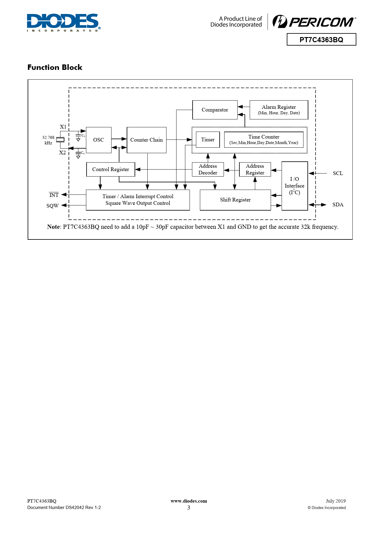
PT7C4363BQ Function Block
Comparator Alarm Register (Min, Hour, Day, Date) X1 CD 32.768 OSC Counter Chain Time Counter Timer kHz (Sec,Min,Hour,Day,Date,Month,Year) X2 CG Address Address Control Register Decoder Register SCL I /O Interface INT (I2C) Timer / Alarm Interrupt Control Square Wave Output Control Shift Register SQW SDA
Note
: PT7C4363BQ need to add a 10pF ~ 30pF capacitor between X1 and GND to get the accurate 32k frequency. PT7C4363BQ
www.diodes.com
July 2019 Document Number DS42042 Rev 1-2 3 © Diodes Incorporated Document Outline Features Description Pin Configuration Pin Description Function Block Maximum Ratings Recommended Operating Conditions DC Electrical Characteristics AC Electrical Characteristics Recommended Layout for Crystal Cpar is all parasitical capacitor between X1 and X2. Crystal Specifications Function Description Overview of Functions Registers Control and Status Register Time Counter Days of the Week Counter Calendar Counter AE W4 Communication I2C Bus Interface Overview of I2C-BUS System Configuration Starting and Stopping I2C Bus Communications Slave Address Part Marking Mechanical Information