Datasheet TB67S158FTG (Toshiba) - 2
| Hersteller | Toshiba |
| Beschreibung | Bi-CD Integrated Circuit Silicon Monolithic |
| Seiten / Seite | 32 / 2 — 2. Block diagram: MODE 1 (Full parallel mode). Ach. IN_A1. OUT_A+. … |
| Dateiformat / Größe | PDF / 1.3 Mb |
| Dokumentensprache | Englisch |
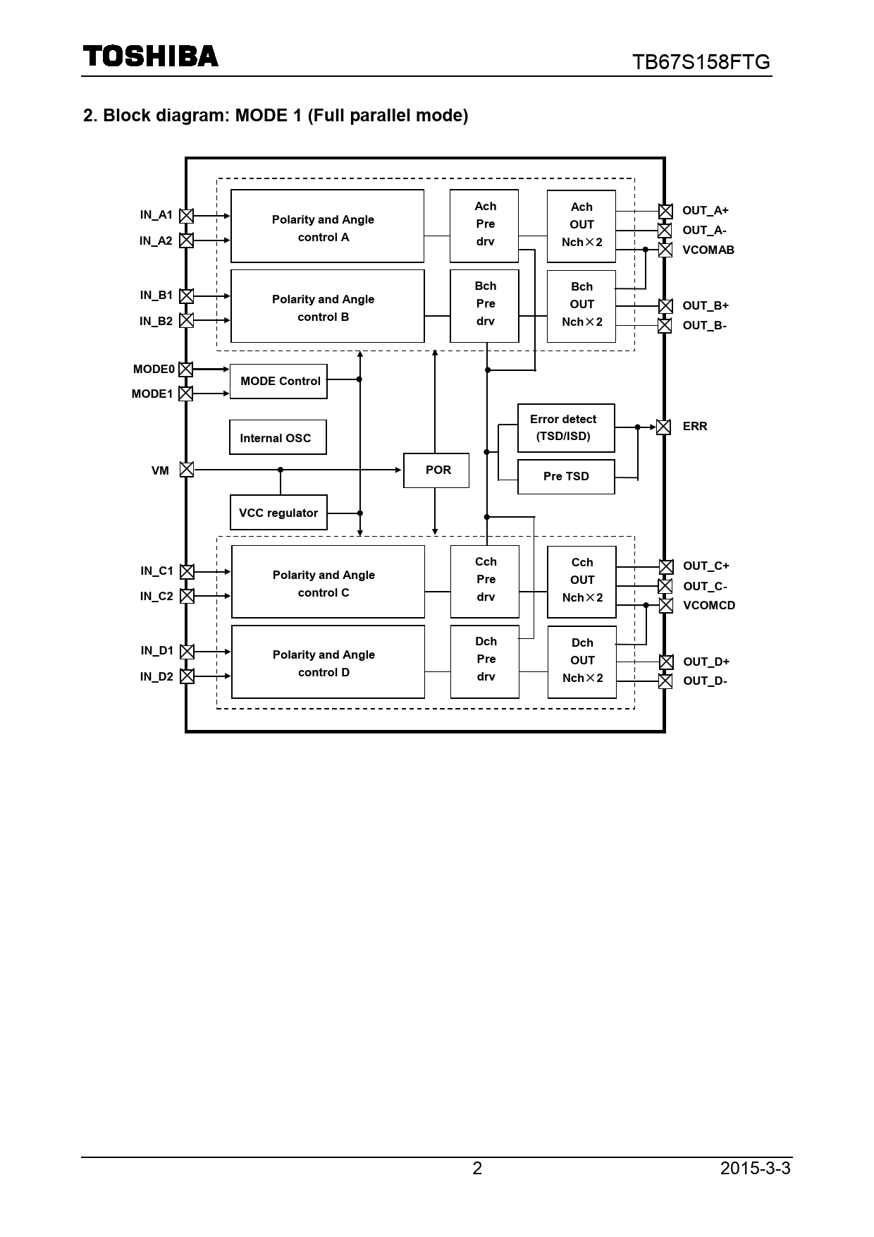
2. Block diagram: MODE 1 (Full parallel mode). Ach. IN_A1. OUT_A+. Polarity and Angle. Pre. OUT. OUT_A-. IN_A2. control A. drv. Nch. VCOMAB. Bch

Modelllinie für dieses Datenblatt
Textversion des Dokuments
TB67S158FTG
2. Block diagram: MODE 1 (Full parallel mode) Ach IN_A1 Ach OUT_A+ Polarity and Angle Pre OUT OUT_A- IN_A2 control A drv Nch
×
2 VCOMAB Bch Bch IN_B1 Polarity and Angle Pre OUT OUT_B+ IN_B2 control B drv Nch
×
2 OUT_B- MODE0 MODE Control MODE1 Error detect ERR Internal OSC (TSD/ISD) VM POR Pre TSD VCC regulator Cch Cch IN_C1 OUT_C+ Polarity and Angle Pre OUT control C OUT_C- IN_C2 drv Nch
×
2 VCOMCD Dch Dch IN_D1 Polarity and Angle Pre OUT OUT_D+ IN_D2 control D drv Nch
×
2 OUT_D-
2 2015-3-3