Datasheet S-19214 (ABLIC) - 2

HerstellerABLIC
BeschreibungAutomotive, 125°C Operation, 36 V Input, 1000 mA Voltage Regulator
Seiten / Seite46 / 2 — AUTOMOTIVE, 125°C OPERATION, 36 V INPUT, 1000 mA VOLTAGE REGULATOR …
Dateiformat / GrößePDF / 812 Kb
DokumentenspracheEnglisch

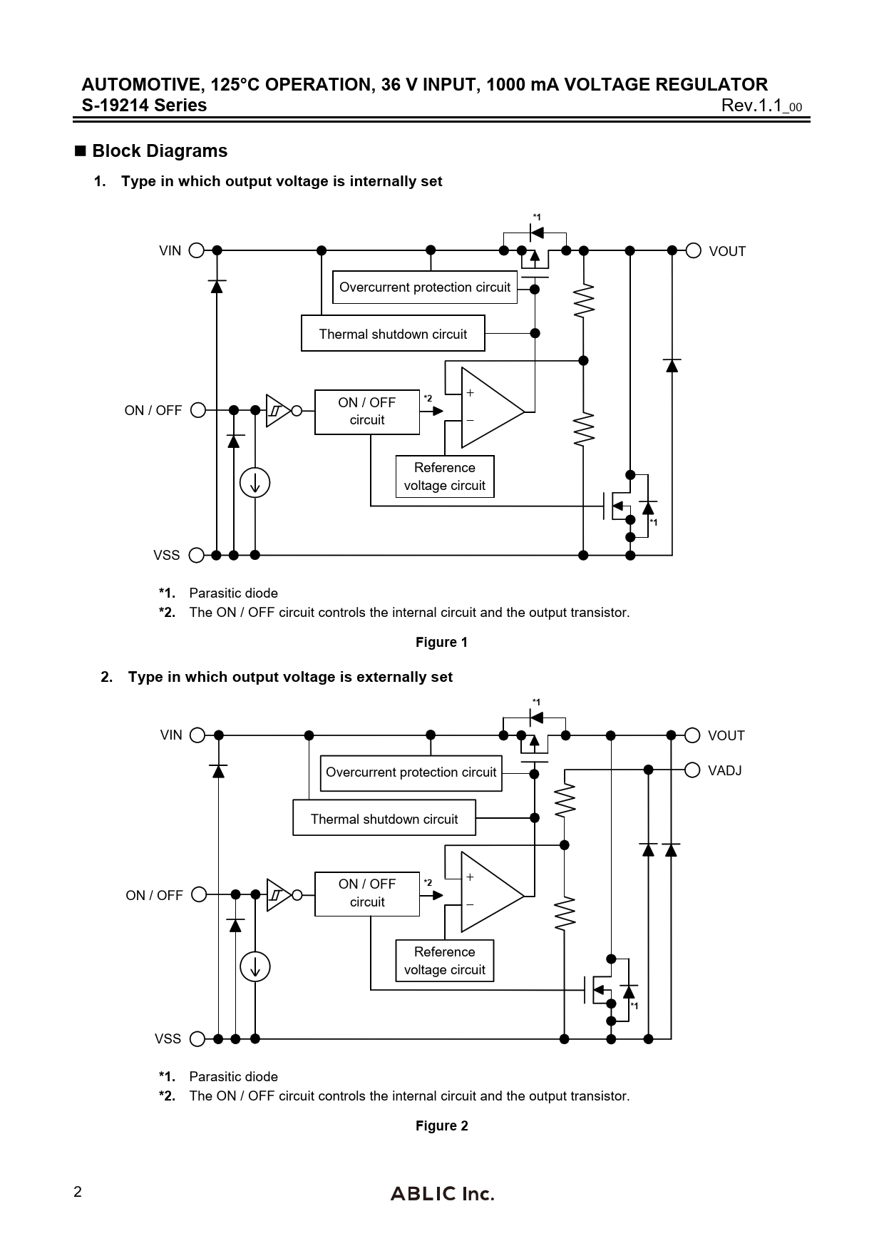
AUTOMOTIVE, 125°C OPERATION, 36 V INPUT, 1000 mA VOLTAGE REGULATOR S-19214 Series. Block Diagrams

AUTOMOTIVE, 125°C OPERATION, 36 V INPUT, 1000 mA VOLTAGE REGULATOR S-19214 Series Block Diagrams

Modelllinie für dieses Datenblatt

Textversion des Dokuments

AUTOMOTIVE, 125°C OPERATION, 36 V INPUT, 1000 mA VOLTAGE REGULATOR S-19214 Series
Rev.1.1_00
Block Diagrams 1. Type in which output voltage is internally set *1
VIN VOUT Overcurrent protection circuit Thermal shutdown circuit + ON / OFF
*2
ON / OFF circuit − Reference voltage circuit
*1
VSS
*1.
Parasitic diode
*2.
The ON / OFF circuit controls the internal circuit and the output transistor.
Figure 1 2. Type in which output voltage is externally set *1
VIN VOUT Overcurrent protection circuit VADJ Thermal shutdown circuit ON / OFF +
*2
ON / OFF circuit − Reference voltage circuit
*1
VSS
*1.
Parasitic diode
*2.
The ON / OFF circuit controls the internal circuit and the output transistor.
Figure 2
2