Datasheet S-35710M (ABLIC) - 2

HerstellerABLIC
BeschreibungProgrammable Wake-up Timer IC with Built-in Quartz Crystal
Seiten / Seite29 / 2 — WAKE-UP TIMER IC PROGRAMMABLE WAKE-UP TIMER IC WITH BUILT-IN QUARTZ …
Revision1.0_00
Dateiformat / GrößePDF / 701 Kb
DokumentenspracheEnglisch

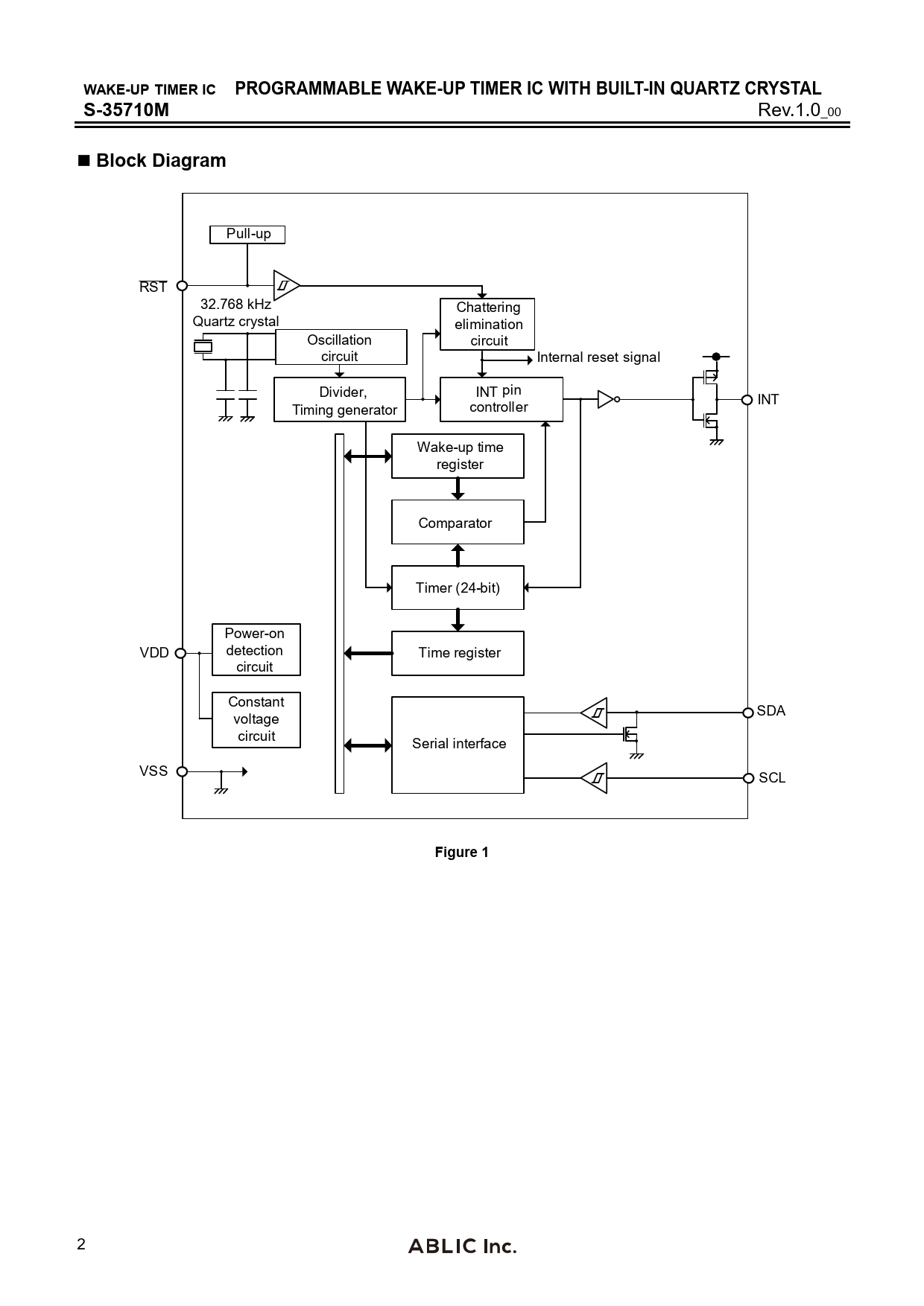
WAKE-UP TIMER IC PROGRAMMABLE WAKE-UP TIMER IC WITH BUILT-IN QUARTZ CRYSTAL S-35710M. Block Diagram. Figure 1

WAKE-UP TIMER IC PROGRAMMABLE WAKE-UP TIMER IC WITH BUILT-IN QUARTZ CRYSTAL S-35710M Block Diagram Figure 1

Modelllinie für dieses Datenblatt

Textversion des Dokuments

WAKE-UP TIMER IC PROGRAMMABLE WAKE-UP TIMER IC WITH BUILT-IN QUARTZ CRYSTAL S-35710M
Rev.1.0_00
Block Diagram
Pul -up RST 32.768 kHz Chattering Quartz crystal elimination Oscillation circuit circuit Internal reset signal Divider, INT pin INT Timing generator control er Wake-up time register Comparator Timer (24-bit) Power-on VDD detection Time register circuit Constant SDA voltage circuit Serial interface VSS SCL
Figure 1
2