Datasheet Si8935/36/37 (Silicon Labs) - 9
| Hersteller | Silicon Labs |
| Beschreibung | Delta-Sigma Modulator for Voltage Measurement |
| Seiten / Seite | 25 / 9 — Figure 4.1. Si8935 Clock Input. Figure 4.2. Si8936/37 Clock Output |
| Revision | 0.1 |
| Dateiformat / Größe | PDF / 471 Kb |
| Dokumentensprache | Englisch |
Figure 4.1. Si8935 Clock Input. Figure 4.2. Si8936/37 Clock Output

Modelllinie für dieses Datenblatt
Textversion des Dokuments
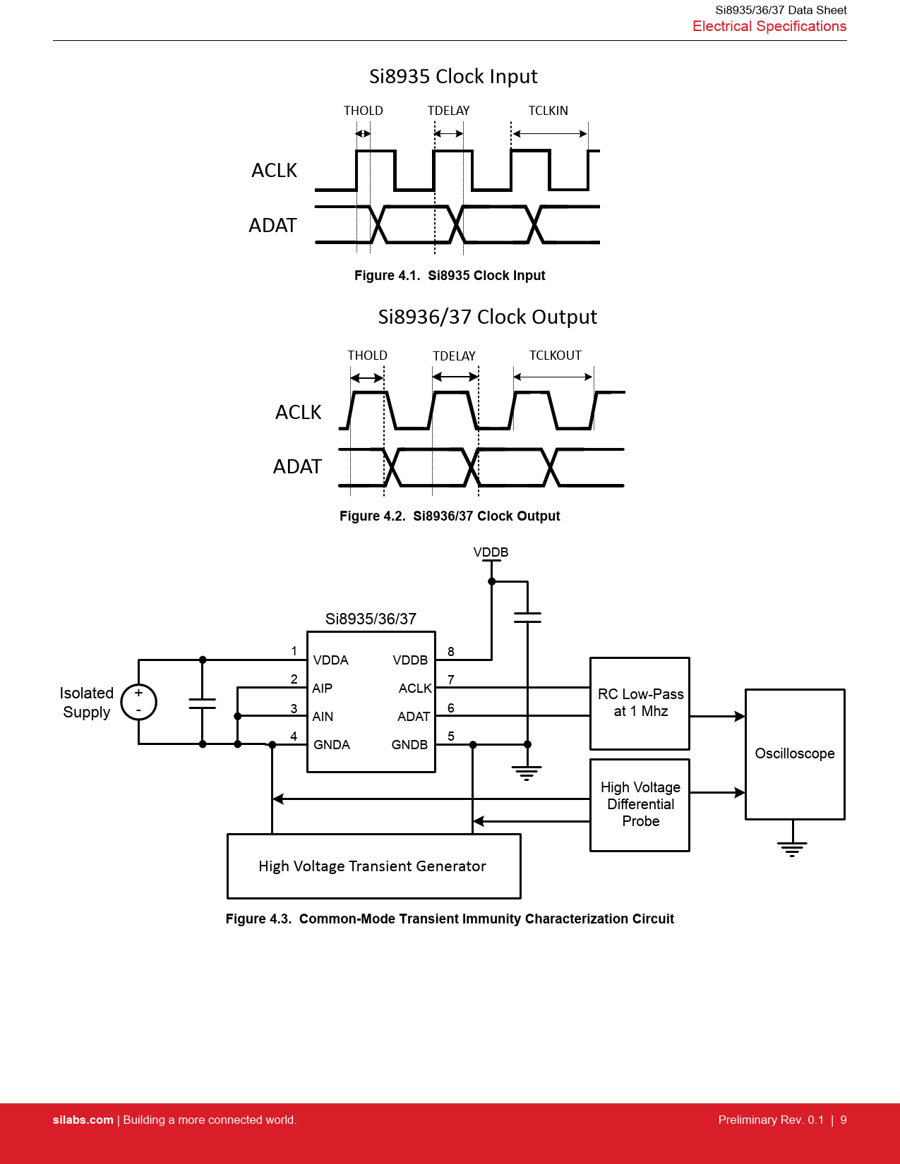
Si8935/36/37 Data Sheet Electrical Specifications Si8935 Clock Input THOLD TDELAY TCLKIN ACLK ADAT
Figure 4.1. Si8935 Clock Input
Si8936/37 Clock Output THOLD TDELAY TCLKOUT ACLK ADAT
Figure 4.2. Si8936/37 Clock Output
VDDB Si8935/36/37 1 8 VDDA VDDB 2 7 AIP ACLK Isolated + RC Low-Pass - 3 6 Supply AIN ADAT at 1 Mhz 4 5 GNDA GNDB Oscilloscope High Voltage Differential Probe High Voltage Transient Generator
Figure 4.3. Common-Mode Transient Immunity Characterization Circuit silabs.com
| Building a more connected world. Preliminary Rev. 0.1 | 9 Document Outline 1. Ordering Guide 2. System Overview 2.1 Modulator 3. Voltage Sense Application 4. Electrical Specifications 4.1 Regulatory Information 5. Pin Descriptions 5.1 Si8935/36/37 Pin Descriptions 6. Packaging 6.1 Package Outline: 8-Pin Wide Body Stretched SOIC 6.2 Package Outline: 8-Pin Narrow Body SOIC 6.3 Land Pattern: 8-Pin Wide Body Stretched SOIC 6.4 Land Pattern: 8-Pin Narrow Body SOIC 6.5 Top Marking: 8-Pin Wide Body Stretched SOIC 6.6 Top Marking: 8-Pin Narrow Body SOIC 7. Document Revision History