Datenblätter
Mehr
Only-Datasheet.com
Über uns
Zusammenarbeit
Werbung
Kontakte
en - English
ru - Русский
es - Espanol
zh - 中文
Suche
Datenblätter
Datasheet MCP1700 (Microchip)
Datasheet MCP1700 (Microchip) - 2
Hersteller
Microchip
Beschreibung
Low Quiescent Current LDO
Seiten / Seite
30
/
2
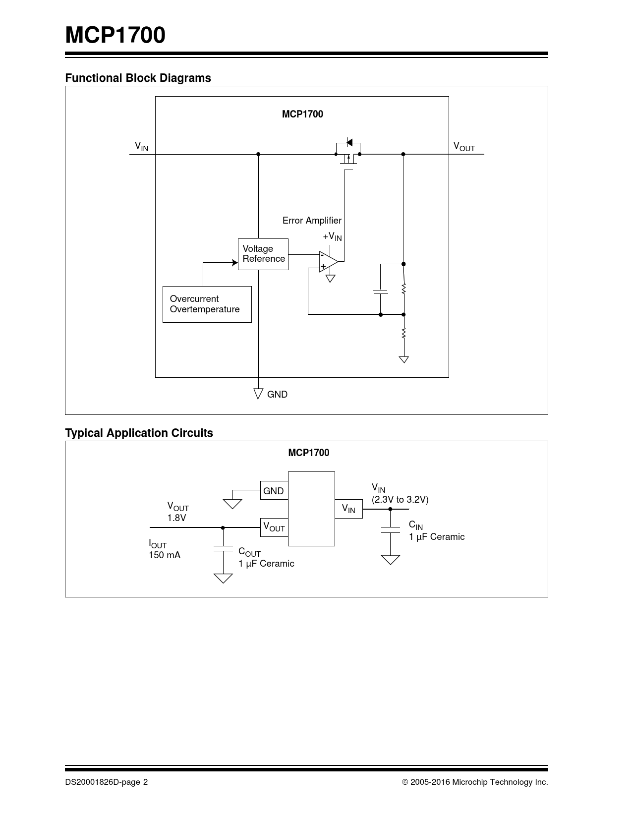
— MCP1700. Functional Block Diagrams. VOUT VIN Error Amplifier. +VIN. …
Revision
09-15-2016
Dateiformat / Größe
PDF
/
846 Kb
Dokumentensprache
Englisch
MCP1700. Functional Block Diagrams. VOUT VIN Error Amplifier. +VIN. Voltage. Reference + Overcurrent
1
2
3
4
5
...
10
Herunterladen PDF
1
2
3
4
5
...
10
Modelllinie für dieses Datenblatt
MCP1700
MCP1700-1202E/TO
MCP1700-1302E/TO
MCP1700-1402E/TO
MCP1700-1502E/TO
MCP1700-1602E/TO
MCP1700-1702E/TO
MCP1700-1802E/TO
MCP1700-1902E/TO
MCP1700-2002E/TO
MCP1700-2102E/TO
MCP1700-2202E/TO
MCP1700-2302E/TO
MCP1700-2402E/TO
MCP1700-2502E/TO
MCP1700-2602E/TO
MCP1700-2702E/TO
MCP1700-2802E/TO
MCP1700-2902E/TO
MCP1700-3002E/TO
MCP1700-3102E/TO
MCP1700-3202E/TO
MCP1700-3302E/TO
MCP1700-3402E/TO
MCP1700-3502E/TO
MCP1700-3602E/TO
MCP1700-3702E/TO
MCP1700-3802E/TO
MCP1700-3902E/TO
MCP1700-4002E/TO
MCP1700-4102E/TO
MCP1700-4202E/TO
MCP1700-4302E/TO
MCP1700-4402E/TO
MCP1700-4502E/TO
MCP1700-4602E/TO
MCP1700-4702E/TO
MCP1700-4802E/TO
MCP1700-4902E/TO
MCP1700-5002E/TO
MCP1700T-1202E/MB
MCP1700T-1202E/TT
MCP1700T-1302E/MB
MCP1700T-1302E/TT
MCP1700T-1402E/MB
MCP1700T-1402E/TT
MCP1700T-1502E/MB
MCP1700T-1502E/TT
MCP1700T-1602E/MB
MCP1700T-1602E/TT
MCP1700T-1702E/MB
MCP1700T-1702E/TT
MCP1700T-1802E/MAY
MCP1700T-1802E/MB
MCP1700T-1802E/MBVAO
MCP1700T-1802E/TT
MCP1700T-1802E/TTVAO
MCP1700T-1902E/MB
MCP1700T-1902E/TT
MCP1700T-2002E/MB
MCP1700T-2002E/TT
MCP1700T-2052E/TT
MCP1700T-2102E/MB
MCP1700T-2102E/TT
MCP1700T-2202E/MB
MCP1700T-2202E/TT
MCP1700T-2301E/TT
MCP1700T-2302E/MB
MCP1700T-2302E/TT
MCP1700T-2402E/MB
MCP1700T-2402E/TT
MCP1700T-2502E/MAY
MCP1700T-2502E/MB
MCP1700T-2502E/TT
MCP1700T-2602E/MB
MCP1700T-2602E/TT
MCP1700T-2702E/MB
MCP1700T-2702E/TT
MCP1700T-2802E/MAY
MCP1700T-2802E/MB
MCP1700T-2802E/TT
MCP1700T-2902E/MB
MCP1700T-2902E/TT
MCP1700T-3002E/MAY
MCP1700T-3002E/MB
MCP1700T-3002E/TT
MCP1700T-3102E/MB
MCP1700T-3102E/TT
MCP1700T-3202E/MB
MCP1700T-3202E/TT
MCP1700T-3302E/MAY
MCP1700T-3302E/MB
MCP1700T-3302E/MBVAO
MCP1700T-3302E/TT
MCP1700T-3302E/TTVAO
MCP1700T-3402E/MB
MCP1700T-3402E/TT
MCP1700T-3502E/MB
MCP1700T-3502E/TT
MCP1700T-3602E/MB
MCP1700T-3602E/TT
MCP1700T-3702E/MB
MCP1700T-3702E/TT
MCP1700T-3802E/MB
MCP1700T-3802E/TT
MCP1700T-3902E/MB
MCP1700T-3902E/TT
MCP1700T-4002E/MB
MCP1700T-4002E/TT
MCP1700T-4102E/MB
MCP1700T-4102E/TT
MCP1700T-4202E/MB
MCP1700T-4202E/TT
MCP1700T-4302E/MB
MCP1700T-4302E/TT
MCP1700T-4402E/MB
MCP1700T-4402E/TT
MCP1700T-4502E/MB
MCP1700T-4502E/TT
MCP1700T-4602E/MB
MCP1700T-4602E/TT
MCP1700T-4702E/MB
MCP1700T-4702E/TT
MCP1700T-4802E/MB
MCP1700T-4802E/TT
MCP1700T-4902E/MB
MCP1700T-4902E/TT
MCP1700T-5002E/MAY
MCP1700T-5002E/MB
MCP1700T-5002E/MBVAO
MCP1700T-5002E/TT
Textversion des Dokuments
MCP1700
Functional Block Diagrams
MCP1700
VOUT VIN Error Amplifier
+VIN
Voltage
Reference + Overcurrent
Overtemperature GND Typical Application Circuits
MCP1700 GND
VOUT
1.8V
IOUT
150 mA DS20001826D-page 2 VIN
VOUT VIN
(2.3V to 3.2V)
CIN
1 µF Ceramic COUT
1 µF Ceramic 2005-2016 Microchip Technology Inc.
Kontakte
Datenschutz-Bestimmungen
Ändern Sie die Datenschutzeinstellungen