Datasheet LTC4301L (Analog Devices) - 5
| Hersteller | Analog Devices |
| Beschreibung | Hot Swappable 2-Wire Bus Buffer with Low Voltage Level Translation |
| Seiten / Seite | 12 / 5 — BLOCK DIAGRA. LTC4301L Supply Independent 2-Wire Bus Buffer |
| Dateiformat / Größe | PDF / 189 Kb |
| Dokumentensprache | Englisch |
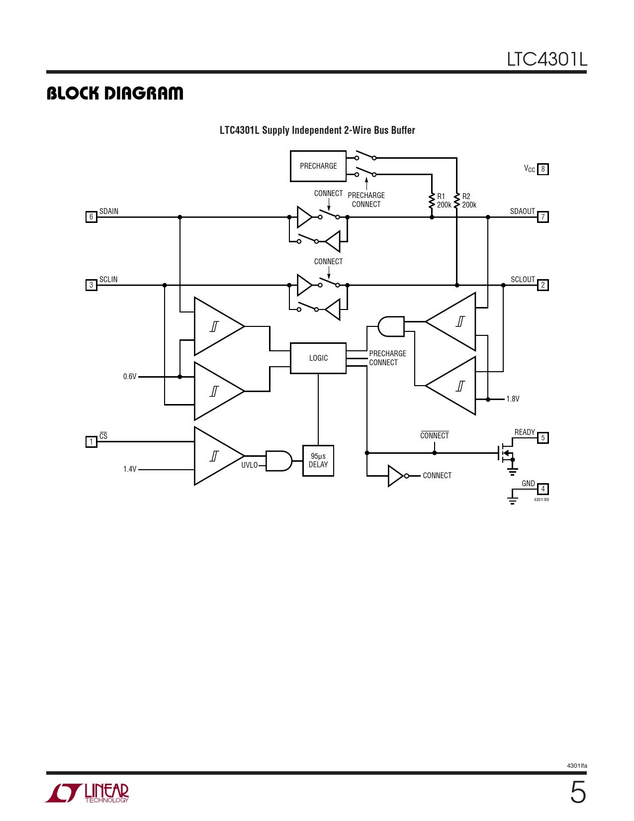
BLOCK DIAGRA. LTC4301L Supply Independent 2-Wire Bus Buffer

Modelllinie für dieses Datenblatt
Textversion des Dokuments
LTC4301L
W BLOCK DIAGRA LTC4301L Supply Independent 2-Wire Bus Buffer
PRECHARGE VCC 8 CONNECT PRECHARGE R1 R2 CONNECT 200k 200k SDAIN SDAOUT 6 7 CONNECT SCLIN SCLOUT 3 2 PRECHARGE LOGIC CONNECT 0.6V 1.8V READY CS CONNECT 5 1 95µs UVLO DELAY 1.4V CONNECT GND 4 4301l BD 4301lfa 5