Datasheet LTC1408-12 (Analog Devices) - 10

HerstellerAnalog Devices
Beschreibung6 Channel, 12-Bit, 600ksps Simultaneous Sampling ADC with Shutdown
Seiten / Seite20 / 10 — TI I G DIAGRA S. LTC1408-12 Timing Diagram
Dateiformat / GrößePDF / 282 Kb
DokumentenspracheEnglisch

TI I G DIAGRA S. LTC1408-12 Timing Diagram

TI I G DIAGRA S LTC1408-12 Timing Diagram

Modelllinie für dieses Datenblatt

Textversion des Dokuments

LTC1408-12
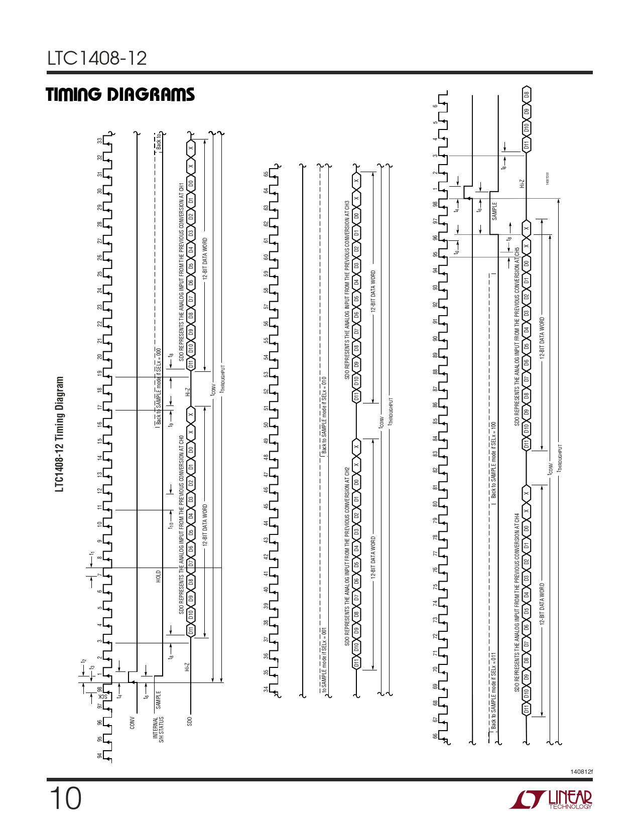
W U W TI I G DIAGRA S
D8 6 D9 5 D10 4 33 Back to X D11 3 32 X t 8 2 31 65 X D0 1408 TD01 1 Hi-Z 30 64 X D1 98 29 63 t 4 t 6 D2 D0 SAMPLE 97 28 62 X D3 D1 96 t 8 27 61 X D4 D2 t 6 95 26 60 D5 D3 D0 94 25 59 12-BIT DATA WORD D6 D4 D1 93 24 58 D7 D5 D2 92 23 57 12-BIT DATA WORD D8 D6 D3 91 22 56 D9 D7 D4 21 55 90 D5 D10 D8 20 t 8 89 SDO REPRESENTS THE ANALOG INPUT FROM THE PREVIOUS CONVERSION AT CH1 54 12-BIT DATA WORD 11 D D9 D6 19 88 53 SDO REPRESENTS THE ANALOG INPUT FROM THE PREVIOUS CONVERSION AT CH3 D7 D10 18 t THROUGHPUT 52 87 Hi-Z t CONV 11 D D8 86 17 51 X D9 Back to SAMPLE mode if SELx = 000 85 t 9 50 t THROUGHPUT SDO REPRESENTS THE ANALOG INPUT FROM THE PREVIOUS CONVERSION AT CH5 t CONV X D10 84 15 16 49 11 X D D0 Back to SAMPLE mode if SELx = 010 83 14 48 X D1 82 t THROUGHPUT t CONV 13 47 D0
LTC1408-12 Timing Diagram
D2 81 12 46 X Back to SAMPLE mode if SELx = 100 D3 D1 80 11 45 X D4 D2 79 10 44 t 10 D0 D5 D3 78 9 43 12-BIT DATA WORD D1 D6 D4 t 1 77 8 42 D7 D2 D5 76 7 41 12-BIT DATA WORD HOLD D3 D8 D6 75 6 40 D4 D9 D7 74 5 39 SDO REPRESENTS THE ANALOG INPUT FROM THE PREVIOUS CONVERSION AT CH0 D5 D10 D8 73 4 38 12-BIT DATA WORD 11 D6 D D9 72 3 37 SDO REPRESENTS THE ANALOG INPUT FROM THE PREVIOUS CONVERSION AT CH2 D7 D10 71 2 t 8 36 t 2 11 D8 D t 3 Hi-Z 70 1 35 D9 69 98 34 SCK to SAMPLE mode if SELx = 001 SDO REPRESENTS THE ANALOG INPUT FROM THE PREVIOUS CONVERSION AT CH4 t 4 t 6 D10 68 97 SAMPLE 11 D 67 96 SDO CONV Back to SAMPLE mode if SELx = 011 INTERNAL 66 95 S/H STATUS 94 140812f 10