Datasheet LTC4150 (Analog Devices) - 6

HerstellerAnalog Devices
BeschreibungCoulomb Counter/Battery Gas Gauge
Seiten / Seite14 / 6 — BLOCK DIAGRAM. Figure 1. Block Diagram. TIMING DIAGRAMS. Figure 2. CLR …
Dateiformat / GrößePDF / 176 Kb
DokumentenspracheEnglisch

BLOCK DIAGRAM. Figure 1. Block Diagram. TIMING DIAGRAMS. Figure 2. CLR Pulse Width to Reset INT,

BLOCK DIAGRAM Figure 1 Block Diagram TIMING DIAGRAMS Figure 2 CLR Pulse Width to Reset INT,

Modelllinie für dieses Datenblatt

Textversion des Dokuments

LTC4150
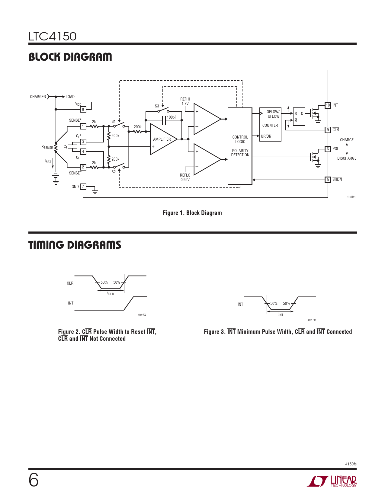
BLOCK DIAGRAM
CHARGER LOAD REFHI VDD 1.7V S3 10 INT 8 + OFLOW/ S Q 100pF UFLOW SENSE+ 2k S1 R 1 200k – COUNTER – 9 CLR C + F 200k CONTROL UP/DN AMPLIFIER 3 LOGIC CHARGE R C SENSE F + 6 4 + POL POLARITY DETECTION C – F DISCHARGE I 200k BAT 2k 2 – SENSE– S2 REFLO 0.95V 5 SHDN GND 7 4150 F01
Figure 1. Block Diagram TIMING DIAGRAMS
50% CLR 50% tCLR INT 50% INT 50% 4150 F02 tINT 4150 F03
Figure 2. CLR Pulse Width to Reset INT, Figure 3. INT Minimum Pulse Width, CLR and INT Connected CLR and INT Not Connected
4150fc 6 Document Outline FEATURES DESCRIPTION APPLICATIONS TYPICAL APPLICATION ABSOLUTE MAXIMUM RATINGS PIN CONFIGURATION ORDER INFORMATION ELECTRICAL CHARACTERISTICS TYPICAL PERFORMANCE CHARACTERISTICS PIN FUNCTIONS BLOCK DIAGRAM TIMING DIAGRAMS OPERATION APPLICATIONS INFORMATION TYPICAL APPLICATIONS PACKAGE DESCRIPTION REVISION HISTORY TYPICAL APPLICATION RELATED PARTS